您的位置 首页 热门影视

联想上海科技公司注册资本增至6.22亿元 法人变更为乔松

  【御龙天下科技消息】4月28日,御龙天下从爱企查App获悉,联想(上海)科技有限公司于近日完成一系列工商变更,注册资本由100万元人民币猛增至6.22亿元人民币。同时,公司法定代表人由陈振宽变更为乔松。据悉,该公司成立于2019年9月,经营范围涵盖软件开发、计算机软硬件及辅助设备批发、办公设备销售、贸易经纪、非居住房地产租赁、信息咨询服务、自行车及零配件零售等。股权结构方面,变更后该公司由联想旗下成都联峰志远计算机销售有限公司全资持股。

  【御龙天下科技消息】4月28日,御龙天下从爱企查App获悉,联想(上海)科技有限公司于近日完成一系列工商变更,注册资本由100万元人民币猛增至6.22亿元人民币。同时,公司法定代表人由陈振宽变更为乔松。据悉,该公司成立于2019年9月,经营范围涵盖软件开发、计算机软硬件及辅助设备批发、办公设备销售、贸易经纪、非居住房地产租赁、信息咨询服务、自行车及零配件零售等。股权结构方面,变更后该公司由联想旗下成都联峰志远计算机销售有限公司全资持股。

联想上海科技公司注册资本增至6.22亿元 法人变更为乔松
联想

联想上海科技公司注册资本增至6.22亿元 法人变更为乔松

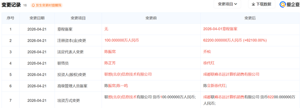
  根据工商变更记录,此次变更主要涉及以下内容:

  注册资本:由100万元人民币增至6.22亿元;

  法定代表人:由陈振宽变更为乔松;

  股东变更:由联想(北京)信息技术有限公司,变更为成都联峰志远计算机销售有限公司;

  高级管理人员:陈振宽、陈一鸣退出,新增陈立新、徐代红;

  出资方式:成都联峰志远计算机销售有限公司以货币出资62200万元。

联想上海科技公司注册资本增至6.22亿元 法人变更为乔松

  有业内人士指出,联想(上海)科技有限公司注册资本从100万元激增至6.22亿元,通常反映出公司在业务拓展、项目承接或融资准备方面的战略布局。增资行为往往旨在满足特定项目对注册资本的门槛要求、提升企业信用评级以增强合作伙伴与客户的信任,或为后续引入战略投资者铺路。在科技行业,大规模增资也常伴随重大项目落地、新业务孵化或重大合同竞标。

  与此同时,法定代表人变更为乔松,表明联想正在调整上海地区核心业务的管理架构。乔松在联想体系内担任多家公司的法定代表人,此次调整或意味着联想将进一步整合区域资源,提升上海科技板块的运营效率。

关于EV扑克(EVPoker)

想跟美女Sashimi一起玩,想知道最新资讯与赛程,敬请锁定EV扑克官网(www.evp86.com)。看牌手痒玩EV扑克,每日多场免费赛奖励高达20w,现在注册EV扑克(evp86.com)额外加赠8张幸运赛门票最高奖励1500倍 立即注册加入EV扑克与全球玩家一起同乐。

EV扑克|EV扑克官网|EV扑克下载|EV扑克电脑版|EV扑克娱乐场|EV扑克小游戏——EV扑克导航(www.evpks.com)
EV扑克|EV扑克官网|EV扑克娱乐场|EV扑克保险|EV扑克娱乐场|EV扑克游戏网址发布页——EV扑克下载(www.evp86.com)
EV扑克小游戏|EV扑克小游戏官网|EV扑克小游戏下载——EV扑克小游戏(www.evpkgames.com)
EV扑克电脑版网址:www.evpk88.com
EV扑克GG官方:www.evpk68.com
EV扑克官网:www.evpukes.com
EV扑克娱乐场 https://www.evpkcasino.com
GG扑克小游戏 https://www.ggpkcasino.com

本文来自网络,不代表爱玩中文站立场,转载请注明出处:https://www.iwb98.com/archives/251485.html/

作者: 爱玩

发表回复

返回顶部